
MIL-PRF-10304/15D
Inches
mm
Inches
mm
Inches
mm
.005
.13
.250
6.35
1.660
42.16
.007
.18
.375
9.53
2.450
62.23
.010
.25
.400
10.16
2.800
71.12
.125
3.18
.500
12.70
2.820
71.63
.138
3.51
.510
12.95
3.160
80.26
.150
3.81
1.000
25.40
3.510
89.15
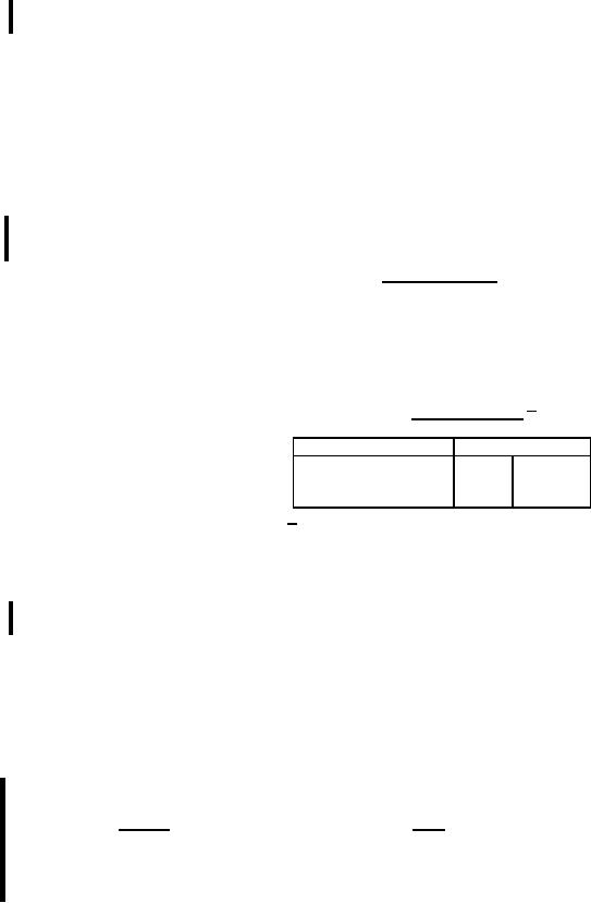
NOTES:
1. Dimensions are in inches. Unless otherwise specified, tolerances are ± .015 inch for two place (.XX), and
± .005 inch for three place (.XXX) dimensions.
2. Tolerance is ± 0.5 (½) degree on angles.
3. Metric equivalents are given for general information only.
4. Maximum projection from front panel including mounting gaskets (if used).
5. Other forms of terminals, as specified in MIL-PRF-10304, are permitted. The specified minimum length applies
to stud-type terminals only. Terminals shall be equally spaced, from each side of vertical centerline.
FIGURE 1. Meter, panel type - Continued.
REQUIREMENTS:
(Readings expressed as a percent of full-scale value.)
Dimensions and configuration: See figure 1.
Full-scale ranges: See table I.
1/
TABLE I. Full-scale ranges.
Milliamperes (RF, RL) Amperes (RF, RL)
100
1
10
200
2
20
500
5
1/ Operating frequencies shall be from 25 Hz to
30 MHz. Meters shall be tested at 60 Hz.
Scale:
Length: 2 inches minimum.
Pointer deflection: 90 degrees minimum.
Color scheme: W, B, or F.
Position influence: ± 2 percent change of 60 degrees rotation from normal operating position.
Accuracy: ± 2 percent at 60 Hertz (Hz).
Overshoot: 40 percent maximum.
Response time: 2.5 seconds maximum.
Power consumption: (loss): Voltage drop at 60 Hz across the heating element at full scale deflection shall not
exceed:
Ranges
Volts
150 milliamperes and less
1.40
Over 150 milliamperes to 1 ampere
0.8
Over 1 to 10 amperes
0.5
Over 10 amperes
0.25
High temperature cycling:
± 8 percent.
± 3 percent permanent change.
2
For Parts Inquires submit RFQ to Parts Hangar, Inc.
© Copyright 2015 Integrated Publishing, Inc.
A Service Disabled Veteran Owned Small Business