
MIL-PRF-10304/19E
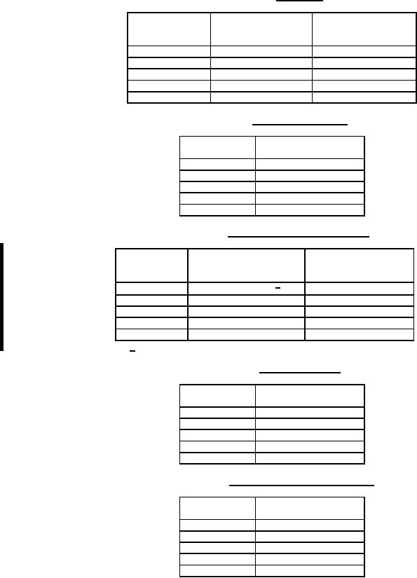
TABLE III. Heat effect.
Permanent
Temporary
Scale
change in indication
position
(dB)
(dB)
(dB)
-8
± 5.0
± 5.0
0
± 2.0
± 1.0
+8
± 1.5
± 1.0
+ 12
± 1.5
± 1.0
+ 22
± 1.0
± 0.5
TABLE IV. Temperature influence.
Scale position
Change in indication
(dB)
(dB)
-8
±3
0
±2
+8
±2
+ 12
±2
+ 22
±1
TABLE V. Exposure to extreme temperature.
Permanent change
Scale position
Change in indication
in indication (dB)
(dB)
(Limited to + 65° C, and
- 55° C)
1/
-8
±4
Free indication
0
Free indication
±2
+8
Free indication
±2
+ 12
Free indication
±2
+ 22
Free indication
±1
1/ See MIL-PRF-10304, section 6, definition of "Free indication".
TABLE VI. Sustained overload.
Scale position
Permanent change in
(dB)
indication (dB)
-8
± 4.0
0
± 1.5
+8
± 1.5
+ 12
± 1.5
+ 22
± 1.5
TABLE VII. Vibration, random drop, and shock.
Scale position
Permanent change in
(dB)
indication (dB)
-8
± 6.0
0
± 3.5
+8
± 2.0
+ 12
± 2.0
+ 22
± 2.0
4
For Parts Inquires submit RFQ to Parts Hangar, Inc.
© Copyright 2015 Integrated Publishing, Inc.
A Service Disabled Veteran Owned Small Business